Benutzer-Werkzeuge

Webseiten-Werkzeuge


gh_aa007
Studienmaterial zur Veranstaltung Qualitätssicherung

Arbeitsanweisung 7

Bedienung des Videomessgeräts TESA VISIO 300


Abbildung 1: Messgerät inkl. Messrechner


1

Zuständigkeiten

Die Verknüpfung von Aufgaben und Zuständigkeiten ist in nachfolgender Matrix hinterlegt:

Tabelle 1: Verantwortungsmatrix
Aufgabe Verantwortung
Herr Prof. Hartke Herr Peters Anwender
Inbetriebnahme im Rahmen der Praktika und wissenschaftlicher Arbeiten I D M
Einweisung der Studenten I D M
Bearbeitung von Messaufgaben I M D
Regelmäßige Überprüfung der Betriebsbereitschaft und Pflege D M
D = Durchführungsverantwortung; M = Mitwirkungsverantwortung; I = Information


2

Gültigkeitsbereich

Diese Arbeitsanweisung gilt für das Messtechnische Labor des Fachbereiches Maschinenbau der Fachhochschule Dortmund, Raum B017.


3

Ziele / Zweck

Fachgerechter Umgang mit messtechnischen Geräten ist Ziel einer berufsbefähigenden Ingenieurausbildung. Diese Arbeitsanweisung beschreibt die Inbetriebnahme und Handhabung des Videomessgeräts TESA VISIO 300 sowie Verantwortlichkeiten für dessen Pflege.


4

Anstoß

Studienverlaufsplan, Praktikum.


5

Grundlagen

Handbuch für das Rechnerprogramm TESA-REFLEX Vista 2.2.


6

Ablauf / Vorgehensweise / Vorgabe

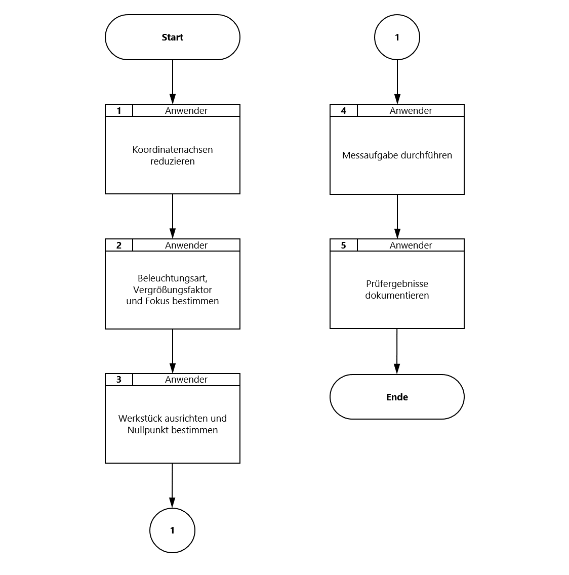
Die Inbetriebnahme des Videomessgeräts TESA VISIO 300 und die Durchführung einer Messaufgabe sind im folgenden Flussbild dargestellt. Eine detaillierte Anleitung zur Bedienung finden Sie in Anlage 1 und eine Erklärung einiger Funktionen in Anlage 2 dieser Arbeitsanweisung.

Abbildung 2: Arbeitsablauf


Diese Arbeitsanweisung befindet sich zusätzlich ausgedruckt im Messtechnischen Labor. Sie darf zum Selbststudium heruntergeladen oder ausgedruckt werden. Hierbei gilt allerdings eine Eigenverantwortung des Nutzers bezüglich der Aktualität der Inhalte.


7

Messung


8

Ergebnisse, Dokumentation

Zum Abschluss einer Messreihe werden die Prüfergebnisse in einem Prüfbericht dokumentiert, siehe hierzu Anlage 1 und Anlage 2.


9

Korrektur und Verbesserungsmaßnahmen

Der Änderungsdienst für diese Arbeitsanweisung unterliegt dem Leiter des Messtechnischen Labors.


10

Mitgeltende Unterlagen

  • Handbuch für das Rechnerprogramm TESA-REFLEX Vista 2.2

Ablageort: Messtechnisches Labor

  • DIN EN ISO 1101:2017-09: Geometrische Produktspezifikation (GPS) - Geometrische Tolerierung - Tolerierung von Form, Richtung, Ort und Lauf

Siehe Normendatenbank der Bibliothek


11

Anlagen

gh_aa007.txt · Zuletzt geändert: 2017/10/16 08:50 von me