Studienmaterial zur Veranstaltung Qualitätssicherung

Arbeitsanweisung 5

Bedienung des Oberflächenmessgeräts Perthen Perthometer S8P


Abbildung 1: Aufbau des Messgeräts inkl. Messrechner


1

Zuständigkeiten

Die Verknüpfung von Aufgaben und Zuständigkeiten ist in nachfolgender Matrix hinterlegt:

Tabelle 1: Verantwortungsmatrix
Aufgabe Verantwortung
Herr Prof. Hartke Herr Peters Anwender
Inbetriebnahme im Rahmen der Praktika und wissenschaftlicher Arbeiten I D M
Einweisung der Studenten I D M
Bearbeitung von Messaufgaben I M D
Regelmäßige Überprüfung der Betriebsbereitschaft und Pflege D M
D = Durchführungsverantwortung; M = Mitwirkungsverantwortung; I = Information


2

Gültigkeitsbereich

Diese Arbeitsanweisung gilt für das Messtechnische Labor im Fachbereich Maschinenbau der Fachhochschule Dortmund, Raum B017.


3

Ziele / Zweck

Fachgerechter Umgang mit messtechnischen Geräten ist wichtiger Bestandteil für eine zielführende Ingenieurausbildung. Diese Arbeitsanweisung beschreibt die Inbetriebnahme, Handhabung und Verantwortlichkeiten für das Oberflächenmessgerät „Perthometer S8P“.


4

Anstoß

Studienverlaufsplan, Praktikum.


5

Grundlagen

Wesentliche Begriffe zur Oberflächenmessung sind in den Infoschriften Info 01 Grobgestaltabweichung und Info 02 Feingestaltabweichung erklärt, welche im Lehrangebot auf den FH-Seiten von Prof. Dr.-Ing. Hartke zum Download bereit stehen.


6

Ablauf / Vorgehensweise / Vorgabe

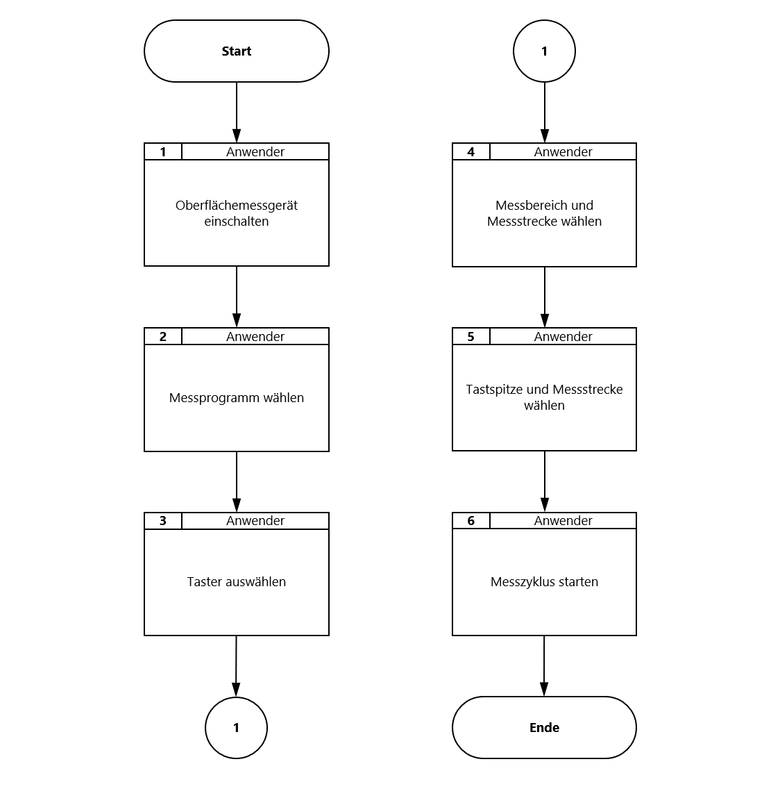
Die Inbetriebnahme des Oberflächenmessgeräts Perthen Perthometer S8P und die Durchführung einer Messaufgabe sind im folgenden Flussbild dargestellt. Eine detaillierte Anleitung zur Bedienung finden Sie in Anlage 1 dieser Arbeitsanweisung.

Abbildung 2: Arbeitsablauf


7

Messung


8

Ergebnisse, Dokumentation

8.1

Auswerteoptionen für eine Messwertreihe

Nachstehende Auswertemöglichkeiten stehen zur Aufbereitung einer Messwertreihe zur Verfügung:

PROFIL + F4

Darstellung von
P – Primärprofil
W – Welligkeitsprofil
R – Rauheitsprofil

F5

Bild TP – Materialanteilkurve mit erweiterter Materialanteilliste (max. 14 Werte)

F6

Bild C – Materialanteilkurve mit vollständiger Schnitttiefenliste in einer festen Materialanteilstufung von 10%


8.2

Dokumentation

Zum Abschluss einer Messreihe werden die Prüfergebnisse in einem Prüfbericht wie folgt dokumentiert. Den Bildschirminhalt können Sie durch Drücken der Taste COPY drucken.

Abbildung 3: Ausdruck der Ergebnisse nach einer Einzelmessung


Abbildung 4: Ausdruck der statistischen Auswertung nach fünf Einzelmessungen


9

Korrektur und Verbesserungsmaßnahmen

Der Änderungsdienst für diese Arbeitsanweisung unterliegt dem Leiter des Messtechnischen Labors.


10

Mitgeltende Unterlagen

  • Betriebsanleitung für Perthometer S8P

Ablageort: Messtechnisches Labor

  • Betriebsanleitung Nr. 680 0071 für Vorschubgerät PRK

Ablageort: Messtechnisches Labor

  • DIN EN ISO 4287:2010-07: Geometrische Produktspezifikation (GPS) - Oberflächenbeschaffenheit: Tastschnittverfahren - Benennungen, Definitionen und Kenngrößen der Oberflächenbeschaffenheit

Siehe Normendatenbank der FH-Bibliothek

  • DIN EN ISO 4288:1998-04: Geometrische Produktspezifikation (GPS) - Oberflächenbeschaffenheit: Tastschnittverfahren - Regeln und Verfahren für die Beurteilung der Oberflächenbeschaffenheit

Siehe Normendatenbank der FH-Bibliothek


11

Anlagen